Лампа подходит для работы в импульсном режиме в диапазоне от 700 Вт до 1000 Вт. Максимально допустимое потребление в режиме постоянной мощности составляет 750 Вт.
Катод: с резьбой 8-32 UNC-3A. Анод: шестигранный цоколь с резьбовым штырьком M6.
Тип | OSRAM HBO 1000W/CEL |
код EAN | 4050300412627 |
Номинальная мощность, W | 750 (700/1000) |
Рабочее напряжение, V | 47 |
Ток, А | 0 |
Цоколь, анод (+) | SXFc15-6/20 |
Цоколь, катод (-) | SFc15-6/25 |
Рабочее положение | вертикальное, анод внизу |
Ресурс, ч | 2500 |
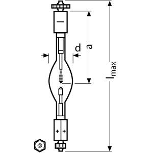
Lmax, mm | 175 |
Диаметр d, mm | 28 |
Межцентровое расстояние a, mm | 78.5 |
Необходимость принудительного охлаждения (верт./го | конвекция |




