Очень короткая форма для горизонтального
рабочего положения, подключение анода через кабель (super short)
Тип | OSRAM XBO 2000W/SHSC OFR |
код EAN | 4008321082077 |
Номинальная мощность, W | 2000 |
Рабочее напряжение, V | 27 |
Ток, А | 70 |
Световой поток, lm | 80000 |
Сила света, cd | 7500 |
Средняя освещенность, cd/cm2 | 80000 |
Цоколь, анод (+) | SK27/50 |
Цоколь, катод (-) | SFcX27-8 |
Рабочее положение | s20 p20 |
Ресурс, ч | 2000 |
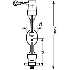
Lmax, mm | 236 |
Диаметр d, mm | 46 |
Межцентровое расстояние a, mm | 95 |
Необходимость принудительного охлаждения (верт./го | +/+ |




