Тип | OSRAM HBO 2001W/CIL |
код EAN | 4050300947235 |
Номинальная мощность, W | 2000 |
Рабочее напряжение, V | 26 |
Ток, А | 0 |
Цоколь, анод (+) | SF33.5/50 |
Цоколь, катод (-) | SFa33.5-10/50 |
Рабочее положение | вертикальное, анод вверху |
Ресурс, ч | 1500 |
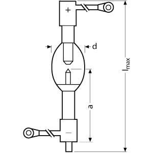
Lmax, mm | 329 |
Диаметр d, mm | 62 |
Межцентровое расстояние a, mm | 149 |
Необходимость принудительного охлаждения (верт./го | принуд. охл. цоколя |




